UniMAX-R 450SW EC-A Shuft
UniMAX-R 450SW EC-A Shuft — это модель из серии "UniMAX-R SW EC с водяным нагревателем, с горизонтальным выбросом воздуха". Компания "Стандарт Климат" — официальный дилер Shuft в России. Мы осуществляем поставку, монтаж и сервисное обслуживание оборудования Shuft.
Доставка по Москве - бесплатная. Оплата возможна наличным или безналичным расчетом, банковской картой.
"Стандарт Климат" готова реализовать комплексное решение любой вашей задачи по инженерному оборудованию "под ключ". Скидку до 20% на оборудование Shuft мы обсуждаем индивидуально.
Звоните:
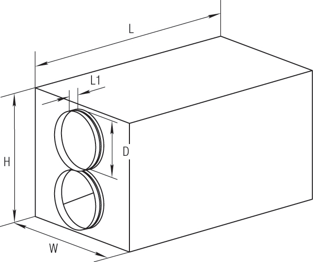
Характеристики
| D, мм | 160 |
| Электропотребление, кВт | 0,43 |
| Фильтр (приток) | EU5 |
| Фильтр (вытяжка) | EU5 |
| H1, мм | - |
| H, мм | 580 |
| КПД регенератора* | 75 |
| L1, мм | 65 |
| L, мм | 1000 |
| Напряжение, В | 230 |
| Рабочий ток, А | 2,0 |
| Толщина изоляции стенок, мм | 50 |
| Вес, кг | 75 |
| W1, мм | - |
| W, мм | 555 |
Описание
Установки серии UniMAX-R SW ECпредназначены для очистки, подогрева и подачи свежего воздуха в жилые, общественные и производственные помещения небольших и средних объемов: офисы, магазины, квартиры и т.п. В процессе работы установки удаляют из помещения загрязненный воздух, очищая его и извлекая из него тепло, и передают это тепло поступающему воздуху. Тем самым установки позволяют экономить энергоресурсы и эффективно вентилировать помещения при имеющихся ограничениях на энергоресурсы.
Преимущества:
- Интегрированная автоматическая система управления
- Толщина теплоизоляции 50 мм
- Роторный теплообменник с КПД до 77 % при максимальном расходе воздуха
- Эффективные малошумные вентиляторы
- Регулировка производительности расхода воздуха
- Регулировка температуры приточного воздуха
- Каждая установка тестируется производителем
- Простой напольный монтаж
- Изменяемая сторона обслуживания
Сертификат:Сертификат соответствия РФ.
О производителе Shuft

Компания была основана в 1998 году в Копенгагене (Дания) как производитель вентиляторов для модульных систем. В течение 16 лет SHUFT K.S.разработал и запустил в производство более 500 моделей оборудования. Сегодня холдинг производит весь спектр оборудования для создания механических вентиляционных систем: вентиляторы, модульные элементы, оборудование для автоматизации, воздухораспределители, моноблочные и каркасно-панельные вентиляционные установки, а также промышленные увлажнители и компрессорно-конденсаторные блоки.
SHUFT — это штаб-квартира в Копенгагене (Дания), R&D- центры в Дании и Германии, 3 современные специализированные производственные площадки, расположенные в странах Евросоюза, в штате компании работают более 1000 сотрудников. Дистрибуция оборудования SHUFT охватывает несколько десятков национальных рынков.


